Fire Protection in Substation Transformers
As modern society takes uninterrupted electricity supply for granted, electrical utility providers are increasingly measured by the reliability of the infrastructure used to deliver power to consumers. A single unplanned outage can not only cause economic disaster but can also unduly damage a utility provider’s good name. Consumers show little patience and less understanding of the complexities necessary to provide uninterrupted electrical service.
This was clearly demonstrated when a fire erupted in a Boston substation causing widespread power outages and compelling authorities to close subway stations, block roads and evacuate a major hotel. Fortunately, there were no serious injuries, however, the Back Bay and South End neighborhoods were paralyzed during the evening rush hour with commuters forced to seek alternative ways to get home as a part of the Massachusetts Turnpike was closed to traffic. Over 21,000 residential and business power customers lost electricity across a broad area of central Boston for days. Politicians and citizenry became increasingly outraged by the event and ambivalent to the valiant efforts of the utility to quickly and safely remediate the situation.
Arguably, one of the most important piece of equipment in any substation is a power transformer. Oil-filled power transformers also pose the largest fire risk in any substation. Fire protection systems designed specifically to address the unique hazards posed by power transformers are a design consideration that must be recognized and understood.
Numerous industry standards provide guidance for fire protection of electrical infrastructure such as transformers and the buildings which support them.
- IEEE National Electrical Safety Code
- IEEE 979 Guide for Substation Fire Protection
- IEEE 980 Guide for Containment and Control of Oil Spills in Substations
- NFPA 70 National Electric Code
- NFPA 15 Standard for Water Spray Fixed Systems for Fire Protection
- NFPA 750 Standard on Water Mist Fire Protection Systems
- NFPA 850 Recommended Practice for Fire Protection for Electric Generating Plants and High Voltage Direct Current Converter Stations
Before delving into each standard, let’s examine the composition of power transformers and fire hazards they present.
Power Transformers:
A typical 117/15.2-kV, 37/50/62.5-MVA power transformer can contain approximately 10000 gal (37855 l) of oil. Larger transformers can contain much more oil. Transformers are filled with oil for several reasons, the most important of which is insulation. Additionally, the oil is used as a coolant and as a dielectric fluid preventing arcing, the electrical breakdown of gases accompanied by the discharge and resulting ionization known as corona. For comparison, a “semi” truck gasoline tanker truck holds 9000 gallons, give or take. Since oil is a combustible liquid, when a transformer fault or failure occurs, the transformer itself can provide both the ignition source, and fuel for a fire. Once ignition occurs, the oil will sustain combustion until thoroughly consumed, unless oxygen is depleted or significant cooling is applied to limit the fire from propagating. The technical characterization of a flammable liquid fire is a Class B Fire. Class B fires have hazards primarily associated to the fuel loading, fuel configuration, flashpoint, and burning rate of the fuel.
The Standards:
Firstly, it is important to recognize that the NFPA-published Codes are not intended to serve as design specifications or instruction manuals. Rather they are only intended to provide guidance for safeguarding persons and utility facilities. Conversely, IEEE publications are intended to provide guidance to substation engineers in the design of substations. The publications must be referenced collectively as overlapping guidance may exist.
NFPA 70 National Electric Code Article 450 Transformers and Transformer Vaults provides guidance for the installation of transformers for general-use applications. Specifically, Articles 450.26 and 450.27 describe the requirements for space separation, fire resistant barriers, automatic fire suppression systems and oil containment to confine the oil of a ruptured transformer tank as they apply to Oil-Insulated Transformers. However, note must be taken that the Code does not cover installations under the exclusive control of an electric utility for the purposes of generation, control, transformation, transmission or distribution of electrical energy. That is, the NEC NFPA 70 only covers utilization wiring requirements beyond the service point controlled exclusively by utilities.
IEEE National Electrical Safety Code, Part 1. Safety Rules for the Installation and Maintenance of Electric Supply Stations and Equipment, Section 15. Codes and regulations provide general guidance for the location and arrangement of power transformers for outdoor and indoor installations for the purposes of personal safety.
IEEE 979 Guide for Substation Fire Protection provides design guidance, fire hazard assessment and pre-fire planning in fire protection to substation engineers. This standard for fire protection in a substation does provide specific guidance for the protection and physical isolation of transformers in the form of fire wall barriers.
NFPA 850 Recommended Practice for Fire Protection for Electric Generating Plants and High Voltage Direct Current Converter Stations outlines fire safety recommendations for gas, oil, coal, and alternative fuel electric generating plants, including high voltage direct current converter stations and combustion turbine units used for electric generation. NFPA 850 provides generating plant design guidance for the installation of outdoor oil-insulated transformers in the form of physical separation between adjacent transformers, spatial separation or separation from adjacent structures. The type of physical separation to be used between transformers, other equipment and building structures should take into consideration items such as:
- Quantity of oil in the transformer and size of a potential oil spill
- Type and amount of other exposed equipment
- Fire suppression system to be provided
- Type of electrical protective relaying provided
- Availability of replacement transformers
It is recommended that adjacent oil-insulated transformers containing 500 gal (1893 l) or more of oil be separated from each other by a 2 hour-rated firewall or by spatial separation in accordance with Table 5.1.4.3. Where a firewall is provided between transformers, it should extend at least 1 ft (0.31 m) above the top of the transformer casing and oil conservator tank and at least 2 ft (0.61 m) beyond the width of the transformer and cooling radiators or to the edge of the containment area, whichever is greater.
Power transformer fire protection systems
- Deluge System. This system uses open spray heads attached to a piping system connected to a water supply through a valve that is opened by means of a detection system installed in the same area as the spray heads. When the valve opens, water flows into the piping system and discharges through all spray heads attached to the system. This type of system uses high volumes of water which may lead to other post fire cleanup issues or contaminated runoff.
- Fixed Water Spray System. This system is similar to a deluge system; however, the water discharge points are designed to create a spray pattern unique to the particular area or equipment being protected. The water spray head locations and spray pattern are tailored to the asymmetrical shape of the equipment being protected. The added benefit of the equipment specific design is the control of fire spread through increased wetting of the equipment under the influence of the fire. Electrical transformers containing oil are commonly protected by fixed water spray systems.
- Water Mist System. This system is similar to the fixed water spray system with an added benefit of using significantly less water by employing special discharge heads creating water droplets called mist. A water mist system is generally defined by the droplet size created. Droplet sizes typically are less than 1000 microns and delivered by a high-pressure pump. The water droplets create a mist that allows a given volume of water to create a larger surface area exposed to the fire. Smaller droplets facilitate larger heat absorption to cool the fire.
- Pre-action Water Mist System. This system uses automatic sprinklers attached to a piping system containing air with a supplemental detection system installed in the same areas as the sprinklers. System activation may require both a signal from the detection system and the heat activation of a sprinkler. Pre-action systems are used to protect areas where the risk of false discharge or leakage must be kept to an absolute minimum. This system has recently seen increased occurrence of use in transformer fire suppression because of water conservation, greater immunity to false initiation and greater ability to control fire spread.
Note: The differentiation between fire protection and fire suppression. Fire suppression is defined as the sharp reduction in the heat release rate of a fire and the prevention of its regrowth by a sufficient application of water mist. Unlike a water spray system that is designed strictly as exposure protection, the water mist system is a fire suppression system.
NFPA 15 Standard for Water Spray Fixed Systems for Fire Protection provides additional guidance for exposure protection of transformers using fixed water spray systems beyond isolation or spatial separation by fire barriers. NFPA 15 helps ensure effective fire control and exposure protection through requirements for the design, installation, system acceptance testing, periodic testing and maintenance of water spray-fixed fire protection systems. Design objectives are defined in Chapter 7.
- Complete water spray impingement shall occur on all exposed exterior surfaces.
- Where there is insufficient space to install water spray nozzles underneath transformers such that the water spray cannot directly impinge upon the bottom surfaces, it shall be permitted to protect the surfaces underneath the transformer by horizontal projection or by nozzles directed to cool the area below the transformer projections.
- The delivery of effective water spray from all open nozzles should take place within 30 seconds of detection.
- Interlocks should be provided between the fire detection system and the electrical systems to de-energize all non-critical power circuits.
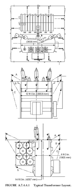
- The location of nozzles for transformers is generally based on Figure A.7.4.4.1 Typical Transformer Layout.
Water Mist Fire Protection systems are becoming increasingly more prevalent for fighting many types of fires, including flammable and combustible liquids, and electrical hazards, such as transformers, switches, and circuit breakers. NFPA 750 Standard on Water Mist Fire Protection Systems provides a standard for design, installation, maintenance and testing requirements for water mist fire suppression systems. The term Water Mist warrants further definition. A water mist system is a water-based fire protection system using very fine water sprays (that is, water mist). The very small water droplets allow the water mist to control or extinguish fires by:
- Cooling the flame and fire plume
- Oxygen displacement by water vapor
- Radiant heat attenuation
- Prevention of fire spread by pre-wetting of combustibles
Much research has occurred relative to the water mist droplet size and distribution relative to the capacity and effectiveness of controlling or extinguishing fires. This article will not attempt to delve deeper into the research findings, however the research indicates that fine (that is smaller than 400 microns) droplets are essential for extinguishment of Class B (flammable liquid) fires, although larger drop sizes are effective for Class A combustible fires, which benefit from the extinguishment by fuel wetting. Furthermore, the relationship between drop size distribution and extinguishing capacity of a water mist is complex. In general, very fine particles enhance heat absorption and generation of water vapor. With liquid (Class B) fuels, too many “large” drops could agitate the surface of the fuel and increase burning intensity. Conversely, larger drops could assist the spray to penetrate through the fire flume to provide the wetting action required to extinguish Class A fueled fires.
In general, water mist systems provide maximum heat transfer with minimum water runoff. The water is delivered by high pressure fire pump designed to flow continuously until manually shut down.
An example of a water mist fire suppression system is the Marrioff HI-FOG® water mist system. The system provides superior performance to cool down and suppress high heat release rate flammable liquid fires such as transformer fires. Water mist is a safe technology for the people and the environment. HI-FOG solutions are available from single transformer protection to full substation protection; they are also capable of protecting cable spaces, electrical spaces, switchgear rooms and administrative areas.
Effective fire fighting
HI-FOG fights fires with significantly less water and more effectively for Class B fuels than traditional sprinkler systems.
Using high pressure and specialized sprinkler and spray heads, the water is dispersed as small droplets. This significantly increases the overall surface of the water.
The small droplets absorb heat more quickly and therefore cool the source of the fire and the surrounding area more rapidly, preventing the fire from spreading.
In a nutshell, HI-FOG cools the fire and the surroundings, blocks the radiant heat and eliminates the oxygen from the seat of the fire.
HI-FOG Water Mist Fire Protection benefits
- Proven performance
- Immediate activation
- Quick control and suppression of fire
- Efficient cooling preventing the fire from spreading
- Low water usage, minimal damage and downtime
- Safe for people and the environment
- Small stainless-steel piping and water supply to spray heads
- Easy installation making HI-FOG ideal for retrofit
- Fully scalable to cover new protection needs
In conclusion, it is clearly evident that transformer fire protection is a very important aspect of substation design. Much study has been performed and many publications issued on the topic. With the ever-increasing public awareness of electrical utility workings in an often highly regulated industry, it is increasingly important to take all measures necessary to assure reliability of the delivered product; that product being the only one the consumer truly cares about and the utility’s ability to deliver uninterrupted is the only one measured.
About the Author
David Petersile
David Petersile ([email protected]) is a senior project manager for Burns & McDonnell’s Construction/Design-Build division. He has a BSCE degree from Rutgers University, is a PMI certified Project Management Professional, an AIC certified Professional Constructor and a CMAA certified Construction Manager, USGBC LEED AP, and ISI Envision SP. With over 35 years of experience, he has served as a project manager, project engineer, resident engineer and owner’s representative for a variety of heavy civil, road & bridge, commercial building, mechanical, electrical, power generation, transmission & distribution, process plant and utility projects.
Bill Mackay
Bill Mackay ([email protected]) is the president of Advanced Safety Systems and has 43 years' experience in the design and installation of Special Hazard Fire Protection Systems. He holds a position on the National Fire Protection Association (NFPA 750) Technical Committee on Water Mist Fire Suppression Systems, is a member of the National Association of Fire Equipment Distributors (NAFED), Society of Fire Protection Engineers (SFPE) and has served as the president of the Fire Suppression System Association (FSSA), an International Trade Association.










